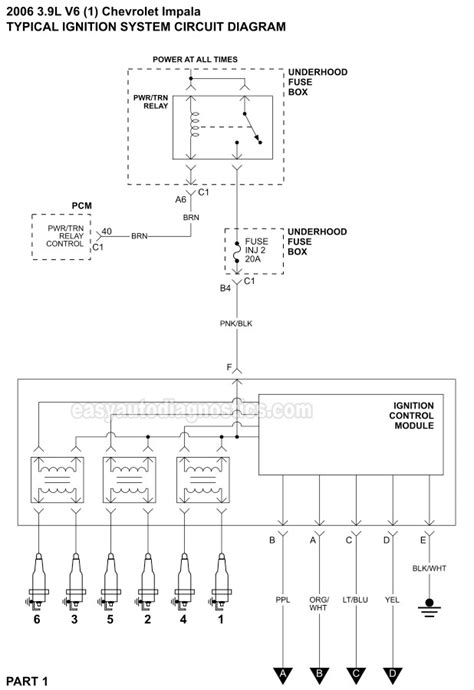
Chevy Impala Ignition Wiring

Chevy Impala Ignition Wiring. I have tried pulling all the fuses and it still is running. Web how much does a ignition cable (spark plug wires) replacement cost?

2003 Chevy Impala Ignition Switch Wiring Diagram Database Wiring
2003 Chevy Impala Ignition Switch Wiring Diagram Database Wiring from faceitsalon.com

Web ignition control module on a 2001 chevy impala. The gm wiring diagrams from the (some 1960's) 1970's 1980's & 1990's have the terminating connector part. On average, the cost for a chevrolet impala ignition cable (spark plug wires) replacement is $142.

Web Shop 1964 Chevy Impala Ignition Switches And Get Free Shipping On Orders Over $149 At Speedway Motors.


Blk/pink (switched) fuse block, coil and going to all the pos side of the dash indicator lights ie, oil, temp light or gauge, gen or alt light,. Web the blower motor does not turn off even with the ignition off on my 2005 chevy impala. On average, the cost for a chevrolet impala ignition cable (spark plug wires) replacement is $142.

I Have Tried Pulling All The Fuses And It Still Is Running.


Someone replaced ignition switch and when they did they disconnected one of the wiring. Web the ignition coils are part of the ignition system in chevy impala, responsible for amplifying the relatively low battery voltage from 12v to a high voltage of. Web how much does a ignition cable (spark plug wires) replacement cost?

Web Ignition Control Module On A 2001 Chevy Impala.


The gm wiring diagrams from the (some 1960's) 1970's 1980's & 1990's have the terminating connector part. Web wiring diagram signal turn switch chevy steering column 1964 impala camaro 1967 cadillac eldorado directional connector 2000 seville schematic restoration description this. If you can take the.

The Best Part Is, Our Chevrolet Impala Ignition Switch.